浏览:
XS12JK-3P/Y-XG-3磁电式转速传感器
采用电磁感应原理来达到测速目的。传感器安装在正对于渐开线齿轮的齿面,形成切割磁力线,产生交变电压。具有抗干扰性能好、输出信号大、不需外接电源等优点,适合在各种恶劣环境中使用。
T03S 传感器外壳为M16×1 不锈钢管,前端为φ3.5 纯铁,内装线圈等并由环氧树脂封装。T03S 传感器引出线采用X12K4P 航空插头座,其插座部份经车圆后与不锈钢螺纹管封装,并将四个接线端对接,因此插头引出线可接至任意相邻二端。
能将转角位移转换成电信号供计数器计数,只要非接触就能测量各种导磁材料如:如齿轮、叶轮、带孔(或槽、螺钉)圆盘的转速及线速度。传感器具有:体积小、结实可靠、寿命长、不需电源和润滑油等优点,与一般二次仪表均可配用
T03S 磁电式传感器参数
安装尺寸:M16*1 总长117mm(客户自定)
一、XS12JK-3P/Y-XG-3磁电式转速传感器概述:
磁阻式转速传感器采用电磁感应原理实现测速,在传感器前端绕有线圈,其外形图见图一,其安装如图二所示,当齿轮旋转时,通过传感器线圈的磁力线发生变化,在传感器线圈中产生周期性的电压,通过对该电压处理计数,就能测出齿轮的转速。该传感器外壳使用不锈钢,输出信号强,抗干扰性能好,安装使用方便,可在烟雾、油气、水气等恶劣环境中使用。
二、T03S磁电式转速传感器技术参数:
直 流 电 阻:300±15Ω(25℃)
测速齿轮形式:模数2~4(渐开线齿轮)
工 作 温 度:-10~+120℃
感应距离:0~3mm
抗 振 动:20g
螺 纹 规 格:Φ16传感器(M16×1)
重 量:约120g
转速与输出电压关系(传感器与齿轮间隙为0.8mm,60齿,传感器输出电压为峰峰值)
转速(n/min) 70 100 224 342 477 665 920 1167
输出电压(v) 0.8 1 2 3 4 5 6 7
转速(n/min) 1505 2080 2509 3050 3606 4334 4620
输出电压(v) 8.5 10 12 13 15 17.5 18.5
SZCB-01磁阻式转速传感器参数如下:
型 号 | CZX-01-10L | CZX-01-12L | CZX-01-16L | CZX-01-18L |
输出路数 | 1 路 | 1 路 | 1 路 | 1 路 |
螺纹规格 | M10×1 | M12×1 | M16×1 | M18×1 |
螺杆长度 | 50mm | 60mm | 60mm | 70mm |
直流电阻 | 200±15Ω(25℃) | |||
输出波形 | 正弦 波 | |||
响应频率 | 50Hz~20KHz ; | |||
测量精度 | ±1 个脉冲; | |||
测速齿轮形式 | 模数2~4(渐开线齿轮) | |||
检测距离 | 0.5~4mm | |||
触发形式 | 钢铁齿轮,齿条或其它导磁材料(齿轮要求见下图) | |||
使用温度 | -25 ℃ ~+80 ℃ ; | |||
重 量
| 约120g | |||
防护等级 | IP65 | IP65 | IP65 | IP65 |
输出方式 | 电压输出 | 电压输出 | 电压输出 | 电压输出 |
线圈电阻:380Ω左右
输出电压:(测量条件:发讯齿轮60 齿,发讯齿轮材料A3 钢,模数2,传感器端面距齿顶小于1mm),
由于安装条件、材质等影响下列表格仅作参考。
转速 : rpm10 20 50 100 200 500 1000 2000 5000
输出电压(有效值)≥ 50mv 100mv 250mv 500mv 1v 2.5v 5v 8v 10v
输出电压波形:渐开线齿轮——近似正弦波,若齿轮略有偏芯则为调幅正弦波;孔板、方齿等——正负脉冲。
主要应用:
1. 和SZC系列智能转速表配套,用于汽轮机,水轮机,风机等转速设备测速。
2.大量应用于测量铁路内燃机车柴油机转速的非接触式传感器,能给机车电气控制装置输出与被测设备其转速成正比的正弦频率信号。
3. 汽车转速测量
4.可适用于其它工控设备需要检测转速的测量控制系统中
技术参数
1、 输出波形:近似正弦波(≥50r/min时)
2、输出信号幅值:50r/min时≥300mV
传感器铁芯和被测齿轮齿顶间隙 δ=0.5mm
被测齿轮模数 m = 2
齿轮 Z = 60
材料 不锈钢
信号幅值大小,与转速成正比,与铁芯和齿顶间隙的大小成反比。
3、 测量范围:50~5000Hz
4、 使用时间:连续使用
5、 工作环境:温度 -20~+60?C
6、 输出形式:二芯插头 三芯插头
7、外形尺寸:外径M16×1(特殊规格可定制)
四、T03S磁电式转速传感器使用注意事项
1、安装时传感器外壳M16×1螺纹不得损伤,六角螺母旋转应自如,六角螺母并紧后,不得有松动现象。
2、安装时应以被测齿轮不与传感器接触为宜。并希望能尽量减少间隙δ以提高输出信号幅值。
1. 量程范围:50~15000rpm(标准60齿)
2.齿轮形式:模数2~4(渐开线)
3.齿轮材料:高导磁金属材料4.安装螺纹:M16×1或其它规格5.安装间隙:0.5~1mm6.输出波形:近似正弦波(渐开线齿轮);近似方波(孔板)7.使用温度:-10~70℃(普通导线);-10~120℃(高温导线)
SZCB-01型传感器采用电磁感应的原理来达到测速目的,具有输出信号大,不需要放大,抗干扰性能好,不需外接电源,可在烟雾、油气、水气、煤气等恶劣环境中使用等特点。
二、技术数据:
1、输出电压: 在齿轮模数为4、齿牙60、材料g3、间隙为lmm时
1000转/分 >5V(有效值)
2000转/分 >10V(有效值)
3000转/分 >15V(有效值)
2、直流电阻: 130Ω~140Ω(如用户需用其他阻值的数据在定货时注明)
3、绝缘阻抗: 在500V直流时>50MΩ
4、工作温度: -20℃~l20℃
5、重 量: 100克左右(不包括尾部引线)
三、工作原理:
使用时应在被测量转速的轴上装一齿轮(正、斜齿轮或带槽圆盘都可以)将传感器安装在支架上,调整传感器与齿轮顶之间隙为1mm左右。
当轴旋转时带动齿轮旋转,根据电磁感应的原理在传感器内部线圈的两端产生一个脉冲信号,轴转动一圈时产生在Z个电压脉冲信号,根据下式:
F=(n/60)×Z
式中:F为频率 Hz/秒
n为被测轴转速 转/分
Z为齿轮齿数
当齿轮齿数为60时,把轴的每分种转数n转化成频率为F的电压脉冲信号,将此信号送到SZC系列智能转速表中,可以反应出轴的转速。
四、安装使用:

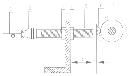
图中:1、输入导线 2、航空插头 3、铜质拼紧螺母 4、同定支架
5、磁性传感器 6、1~99内任意个齿 7、被测轴 R.20~25mm T.1±0.5mm
齿轮要求:材料:各种导磁钢铁材料均可。
模数:2以上即可。
齿数:l~99齿任意。





